9091美高梅

接待会见9091美高梅官网!!

产品中心

凭证客户差别化需求,量身定制个性化产品,以客户需求为中心
网站首页>产品展示>循环经济项下>修建垃圾处理
轻物质疏散器

轻物质疏散器

应用领域:修建、、装潢垃圾处理
适用物料:木块,纸屑以及塑料袋等轻物质
索取报价在线留言

在修建垃圾中,修建拆迁爆发的废物中除了混凝土块以外,尚有砂石,木块,纸屑,塑料袋等,其中混凝土块是可以作为路基使用的;;木块,纸屑以及塑料袋等轻物质也有其各自的用途,若是不加以区分的将上述废物统一处理,不但会引起可用资源的铺张,并且会由于相互滋扰而相互影响使用质量。。。该装备的目的在于提供一种轻物质疏散器,以除去修建垃圾中的木块、、纸屑、、废塑料等轻物质。。。

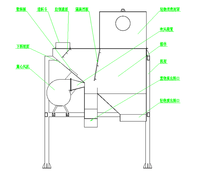
轻物质疏散器包括机架,风管风选箱及离心风机,风选箱牢靠在机架上,风选箱具有物料入口,重物质出口和轻物质出口,另外风选箱内还设有下料坡面,下料坡面的上端位于风选箱的物料入口处,下端与重物质出口相连,下料坡面的反面毗连有吹风装置,该装备在使用时,物料从入口进入风选箱,在重力的作用下,物料延下料坡面自动滑落,物料滑落到重物质出料口处时,吹风装置将修建垃圾中的轻物质吹到轻物质腔里网络后处理,重物质则通过重物质出料口倾轧风选箱。。。

中国·9091美高梅(股份)有限公司-官方网站

中国·9091美高梅(股份)有限公司-官方网站

结构特点:

1.风选箱内,所设的下料坡面及坡面上所设的散料板,既减缓了物料滑落的速率又降低了料层的厚度,更有利于轻物质的充分疏散。。。

2.风选箱内,所设下料坡面扑面的防倒流板,可起到阻止被吹出的轻物质从进料斗倒流出去,还能兼具缓冲物料的作用。。。

3.风选箱内位于重物质出口及轻物质出口之间所设上下延伸的隔离挡板,将风选箱支解成重物质腔及轻物质腔,防止被风选出的轻物质返回与重物质混淆在一起。。。隔离挡板上的透风窗口,正对吹风装置的吹风口,既提高了风选的效率又阻挡了轻物质向重物质腔里漂移。。。

4.风机设在下料坡面的反面,风机的出风口与吹风装置相连,云云近距离的设计既镌汰了风阻,又提高了风选效率,另外风机的进风口用风管毗连在轻物质腔的顶部,云云可减小轻物质腔里的风压,利于轻物质在重力作用下着落。。。

适用规模及优势:

1.该轻物质疏散器可用于修建垃圾生产线中木块,纸屑以及塑料袋等轻物质的疏散。。。

2.该轻物质疏散器动力部分只有一台3kw的离心风机,运行本钱低,节约用电量。。。

3.该轻物质疏散器结构简朴,重量轻,既节约制作本钱又镌汰工人对装备的维修维护。。。

装备参数:

中国·9091美高梅(股份)有限公司-官方网站


案例




在线留言

姓名:

*

电话:

*

公司:

*

意向数目:

内容:

*

验证码:

点击刷新
案例展示
  • 漫衍筛X使用现场
  • 漫衍筛-Z使用现场
联系9091美高梅

若是您有任何疑问请拨打

400-113-3090
0373-3067720

或在线咨询我们

咨询我们
关于9091美高梅
关于9091美高梅 视频中心 企业文化 公司历程 企业实力 9091美高梅外洋
产品中心
循环经济项下 智能装备 复频筛系列 漫衍筛系列 振动筛 给料装备 耗材系列 经典产品
新闻中心
公司新闻 行业新闻
子公司
若邻智能
金微星建工
分站入口
精品砂石生产线 复频筛系列
erwm

400-113-3090

0373-3067720

地点:河南省新乡县工业路1号

客服QQ:2487512285

邮箱:2487512285@qq.com

网址:www.winnergroup.com.cn

Copyright ? 2026 9091美高梅 豫ICP备09004717号-7

【网站地图】